from 01.01.2019 until now
Belgorod, Belgorod, Russian Federation
Russian Federation
VAK Russia 2.1.1
VAK Russia 2.1.2
VAK Russia 2.1.3
VAK Russia 2.1.5
VAK Russia 2.1.6
VAK Russia 2.1.7
VAK Russia 2.1.8
VAK Russia 2.1.9
VAK Russia 2.1.10
VAK Russia 2.1.11
VAK Russia 2.1.12
VAK Russia 2.1.13
VAK Russia 2.1.15
UDC 699.8
CSCSTI 44.00
CSCSTI 67.01
Russian Classification of Professions by Education 08.00.00
Russian Library and Bibliographic Classification 2
Russian Library and Bibliographic Classification 308
Russian Trade and Bibliographic Classification 6005
BISAC COM COMPUTERS
In the context of global climate change and the need to ensure sustainable development of society, the importance of environmental protection is increasing. One of the key approaches to solving this problem is to increase the level of heat recovery in industrial processes. This paper considers the development of a new type of efficient heat exchange equipment - a plate heat exchanger with a developed heat exchange surface. Its design is based on an innovative approach aimed at optimizing heat transfer characteristics for various technological processes. Based on experimental studies of pressure losses and heat transfer coefficient, empirical relationships were obtained for the friction coefficient and heat transfer coefficient. The proposed heat exchanger design allows increasing heat transfer by 6% compared to traditional heat exchangers, although the friction coefficient increases by about 8%.
plate heat exchanger, heat transfer intensification, heat transfer coefficient, friction coefficient
Введение
Сегодняшний мир сталкивается с проблемами изменения климата, и для обеспечения устойчивого развития общества необходимы более решительные меры по охране окружающей среды. Чтобы достичь этой цели, нужно сократить потребление ископаемых видов топлива и увеличить энергоэффективность. Один из действенных подходов к решению данной проблемы — расширение использования тепла, которое выделяется в процессе промышленной деятельности. Применение методологии интеграции процессов с использованием высокоэффективных пластинчатых теплообменников поможет наиболее эффективно реализовать этот потенциал [1].
Выбросы, пар и газы, возникающие в промышленных печах и представляющие собой производственные отходы, обладают значительным запасом тепловой энергии [2]. Переработка тепла из этих газовых потоков позволит снизить расход топлива, необходимого для сжигания, и уменьшить выбросы загрязняющих веществ, включая углекислый газ.
В российском теплоэнергетическом секторе особое внимание уделено пластинчатым теплообменникам, поскольку они соответствуют современным требованиям по сохранению ресурсов. Исследовательские работы по увеличению их эффективности и снижению металлоёмкости активно проводятся учёными как в России, так и за рубежом [3]. Благодаря высокой теплоотдаче, компактной конструкции и использованию устойчивых к коррозии материалов, современные пластинчатые теплообменники с рифлёными пластинами стали лучшим выбором для интеграции в различные промышленные процессы [4]. Эти теплообменники успешно применяются в разных отраслях промышленности, на электростанциях, в системах отопления жилых домов и в технологических процессах. Существует несколько конфигураций стандартных пластинчатых теплообменников, среди которых рамные, сварные, полусварные и паяные варианты. Для проектирования таких устройств и моделирования теплопередачи использовались математические модели, основанные на экспериментальных данных [5], полуэмпирических корреляциях [6] и теоретических исследованиях [7].
Для эффективного восстановления тепла из отработанных газовых и жидкостных потоков, конструкция пластинчатых теплообменников должна быть адаптирована под особенности таких процессов, чтобы обеспечить надёжную работу оборудования. Установка вихревых вставок в панельных радиаторах позволила увеличить средний коэффициент теплопередачи на 12%, причём наилучший результат был достигнут при размещении генераторов в центральной части панели [8]. Рассмотрение теплообменников типа «сэндвич» с металлическими сотовыми сердцевинами, имеющими изменяемую геометрию ячеек для оптимизации потока и хорошие механические свойства, было проведено в исследовании [9].
Для повышения производительности пластинчатых теплообменников в нескольких исследованиях предлагалось использовать различные методы улучшения теплопередачи в каналах, разрабатывались новые конструктивные решения и внедрялись инновационные производственные подходы. В одном из исследований [10] была проведена модификация пластинчато-ребристых сэндвич-панелей добавлением пирамидальной сетки, что увеличило число Нуссельта в 1,9 раза.
В работах [11-13] проводились расчетные исследования теплообменных характеристик пластинчатых теплообменников для различных случаев: работа с жидкостями, процессы конденсации и испарения. Авторы [14] предложили методику модификации поверхности панелей с воздушным зазором для интенсификации процессов теплопередачи, а также проанализировали характеристики теплопереноса и поведения потока наножидкостей в таких системах [15]. Эти исследования включали рассмотрение различных вариантов конструкции пластин.
Подобное многообразие конструкций влияет на теплопередающую способность и гидравлические характеристики пластин. Исследователи также изучали влияние диаметра сварочных точек, расстояний между ними [16] и межпанельного пространства [17] на общую эффективность теплообмена.
1. Разработка оригинальной конструкции
В предлагаемой статье рассматривается модернизированная конструкция пластинчатого теплообменника, изготовленная с использованием инновационных экспериментальных пластин[1] для работы с жидкими и газообразными средами. Внешний вид оригинальной пластины показан на Рис. 1.
|
|
|
|
а) |
б) |
Рис. 1. Внешний вид пластины:
а – общий вид пластины; б – вид А;
1 – металлическая пластина, служащая основой изделия;
2 – герметизирующая прокладка; 3 – выходное отверстие нагреваемого контура;
4 – входное отверстие нагреваемого контура; 5 – входное отверстие греющего контура;
6 – выходное отверстие греющего контура;
7 – основная теплообменная часть; 8 – рифление (гофра);
9 – площадка между соседними рифлениями;
10 – технологическое углубление сферической формы; h – высота углубления, м;
p – шаг углублений, м; p2 – расстояние между соседними рифлениями
Исследуемый теплообменник оснащён гофрированным каналом между смежными пластинами, предназначенным для прохождения газового или жидкого потока. Анализ уровня интенсификации теплообмена в таких каналах представляет значительный интерес для дальнейшего совершенствования этого многообещающего типа теплообменников.
Характеристики теплообменника с модифицированными пластинами:
| Площадь поперечного сечения внешнего канала, м2 | 0.0046 |
| Площадь поперечного сечения внутреннего канала, м2 | 0.00042 |
| Общая длина внутреннего канала, м | 10.6 |
| Общая длина внешнего канала, м | 1.50 |
| Длина волнообразного канала, м | 1.352 |
| Ширина панели, м | 0.5 |
| Толщина стенки пластины, м | 0.001 |
| Ширина внешнего канала, м | 0.466 |
| Площадь теплопередачи одной панели, м2 | 1.37 |
| Площадь теплопередачи испытуемого теплообменника, м2 | 5.48 |
2. Экспериментальные исследования
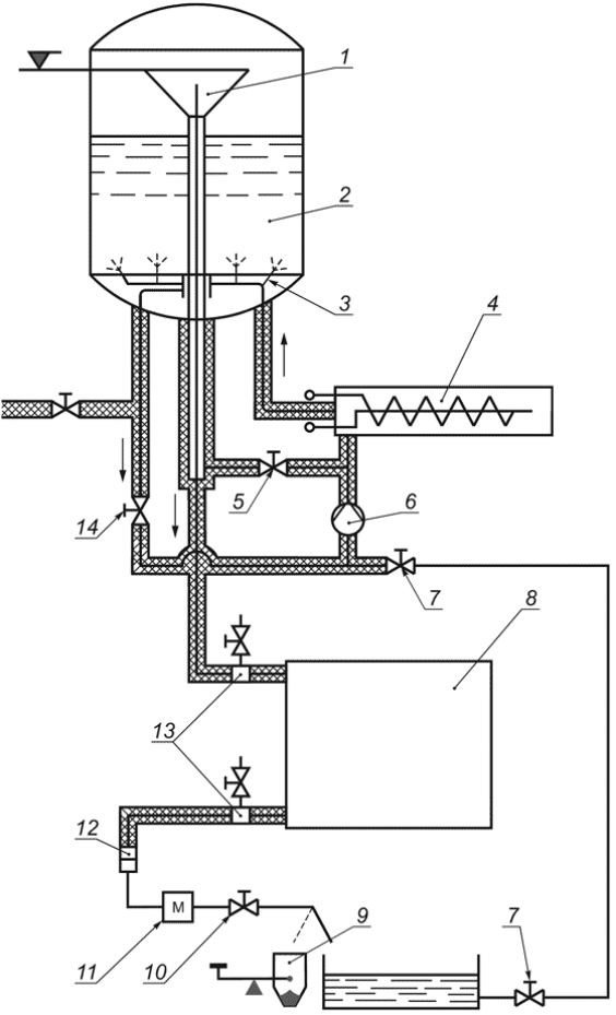
Для изучения гидравлического сопротивления и коэффициентов теплопередачи во внешних каналах была создана экспериментальная установка в соответствии с требованиями ГОСТ Р 53583-2009, схема которой показана на Рис. 2.

Рис. 2 . Экспериментальная установка (Источник: ГОСТ 53589-2009):
1 – перелив; 2 – бак постоянного уровня; 3 – смешивающее устройство;
4 – электрический котел; 5 – клапан; 6 – циркуляционный насос;
7 – клапан; 8 – пластинчатый теплообменник; 9 – измерительный сосуд;
10 – клапан; 11 – теплообменник для первичной подготовки воды; 12 – фильтр;
13 – устройство для измерения температуры; 14 – клапан.
Эксперимент проводился с использованием воды в качестве горячего теплоносителя и воздуха в роли холодного. Температура воды варьировалась от 50°C до 85°C, тогда как воздух поддерживался при комнатной температуре около 20°C. Скорость воздушного потока в каналах изменялась в пределах от 1,3 м/с до 5,3 м/с. На основании полученных экспериментальных данных были исследованы процессы теплопередачи и падение давления в гофрированных каналах пластинчатого теплообменника. Коэффициент трения Дарси использовался для оценки падения давления в каналах.
Исследование падения давления проводилось на двух участках канала между пластинами: на участке с гофрированной поверхностью и на всей длине канала. Основной теплообмен происходит на участке с ребристой поверхностью, и информация о падении давления здесь важна для дальнейших разработок конструкции теплообменника. Данные о падении давления на всей длине канала необходимы для проектирования теплообменника на основе исследованных пластин. Результаты измерений падения давления на всей длине внешнего канала представлены на Рис. 3 в виде коэффициента трения Дарси, а зависимость коэффициента теплопередачи от числа Рейнольдса — на Рис. 4.

Рис. 3. Падение давления

Рис. 4. Зависимость коэффициента теплопередачи от числа Рейнольдса
Анализ результатов позволил разработать эмпирическую корреляцию в стандартной форме, учитывающую произведение числа Рейнольдса на определенный коэффициент. Формула полученной корреляции следующая:
$ζ=1,044 Re^{-0,21},$ (1)
где Re — число Рейнольдса.
В результате исследования предлагается формула определения числа Нуссельта для теплообменника с оригинальными пластинами:
$Nu=0,053∙ Re^{0,77}∙Pr^{0,43}.$ (2)
Проведены экспериментальные исследования теплопередачи и гидравлических характеристик пластинчатого теплообменника с каналами гофрированной формы. Установлено, что использование пластин с углублениями разного диаметра позволяет увеличить теплопередачу до 6%, что сопровождается повышением коэффициента трения до 8%.
Получены эмпирические уравнения для коэффициента трения и коэффициента теплопередачи в гофрированном канале. Эти результаты способствуют повышению эффективности работы пластинчатого теплообменного оборудования и увеличению его срока службы.
[1] Патент на полезную модель № 201068 U1 Российская Федерация, МПК F28F 3/00. Пластина теплообменника : № 2020125206 : заявл. 29.07.2020 : опубл. 25.11.2020 / Н. Ю. Саввин, Л. А. Кущев, М. В. Серебреникова, И. В. Волабуев ; заявитель федеральное государственное бюджетное образовательное учреждение высшего образования «Белгородский государственный технологический университет им. В.Г. Шухова». – EDN QLDFZH.
1. Dzh.Dzh. Klemesh, P.S. Varbanov, P. Kapustenko Novyye razrabotki v oblasti integratsii i intensifikatsii teplosnabzheniya, vklyuchaya kompleksnoye ispol′zovaniye, preobrazovaniye otkhodov v energiyu, tsepochki postavok i fundamental′nyye kontseptsii. Therm. Angl., 61 (2013), pp. 1-6,https://doi.org/10.1016/j.applthermaleng.2013.05.003. [In Russian] EDN: https://elibrary.ru/XNBXZJ
2. O.P. Arsen′yeva, L. Chuchek, L.L. Tovazhnyanskiy, P.O. Kapustenko, YU.A. Savchenko, S.K. Kusakov, O.I. Matsegora Utilizatsiya otkhodyashchego tepla otkhodyashchikh gazov fronta protsessa sushki. Khimiya, 10 (2016), pp. 131-138,https://doi.org/10.1007/s11705-016-1560-8. [In Russian] EDN: https://elibrary.ru/XNOIBZ
3. Savvin, N. YU. Modelirovaniye teploobmennogo protsessa v original′nom plastinchatom teploobmennike / N. YU. Savvin // Zhilishchnoye khozyaystvo i kommunal′naya infrastruktura. – 2023. – No 2(25). – p. 37-46. – DOIhttps://doi.org/10.36622/VSTU.2023.41.58.004. – EDN YFCIPW. [In Russian]
4. Klemes YA., Arsen′yeva O., Kapustenko P., Tovazhnyanskiy L. Kompaktnyye teploobmenniki dlya intensifikatsii peredachi energii: nizkotemperaturnoye nagrevaniye i umen′sheniye zagryazneniya // CRC Press (2015). [In Russian]
5. Arsen′yeva O.P., Tovazhnyanskiy L.L., Kapustenko P.O., Khavin G.L. Obobshchennoye sootnosheniye koeffitsiyenta treniya v poperechnykh protochnykh kanalakh plastinchatykh teploobmennikov // Khimiya. Per., 25 (2011), pp. 399-404,https://doi.org/10.3303/CET1125067. [In Russian] EDN: https://elibrary.ru/XMVYSB
6. P. Kapustenko, O. Arsen′yeva, O. Dolgonosova, Sootnosheniye peredachi tepla i impul′sa v kanalakh plastinchatykh teploobmennikov, v: PRESS-konferentsiya 11: 14-ya konferentsiya po integratsii protsessov, modelirovaniyu i optimizatsii dlya energosberezheniya i snizheniya zagryazneniya okruzhayushchey sredy, Tom 25, Khimiya. Angl. Per., 25 (Florentsiya, Italiya, 2011), pp. 357-362, DOI. DOI:https://doi.org/10.3303/CET1125060. [In Russian] EDN: https://elibrary.ru/XMWATN
7. Arsen′yeva O.P., Tovazhnyanskiy L.L., Kapustenko P.O., Demirskiy O.V. Obobshchennaya poluempiricheskaya korrelyatsiya dlya teploperedachi v kanalakh plastinchatogo teploobmennika. Term. Angl., 70 (2014), pp. 1208-1215,https://doi.org/10.1016/j.applthermaleng.2014.04.038. [In Russian] EDN: https://elibrary.ru/XLFTDN
8. L. Garelli, G. Rios Rodriges, Dzh.Dzh. Dorella, M.A. Storti Povysheniye teploperedachi v panel′nykh radiatorakh s ispol′zovaniyem vikhrevykh generatorov tipa "treugol′noye krylo", J. Therm. Sci., 137 (2019), pp. 64-74,https://doi.org/10.1016/j.ijthermalsci.2018.10.037. [In Russian]
9. D. Kong, YU. Chzhan, S. Lyu Uluchshayut konvektivnuyu teploperedachu za schet ispol′zovaniya novoy sotovoy serdtseviny v teploobmennike iz sendvich-paneley, izgotovlennom metodom additivnogo proizvodstva. Term. Eng., 163 (2019), Artikul 114408,https://doi.org/10.1016/j.applthermaleng.2019.114408. [In Russian]
10. YU. Ma, KH. Yan, G. Se Tekuchest′ i teplovyye kharakteristiki sendvich-paneley s plastinchatymi rebrami zhestkosti i/ili piramidal′noy reshetkoy. Term. Eng., 164 (2020), Artikul 114468,https://doi.org/10.1016/j.applthermaleng.2019.114468. [In Russian] EDN: https://elibrary.ru/JBBHZT
11. Dzh.M. Tran, M. Payper, E.YU. Kenig Odnofaznyy potok i kondensatsiya v plastinchatykh kondensatorakh.-.-Dzh. Bart, S. Sholl′ (red.), Innovatsionnyye teploobmenniki, Mezhdunarodnoye izdatel′stvo Springer, Cham (2018), pp. 247-265,https://doi.org/10.1007/978-3-319-71641-1_8. EDN: https://elibrary.ru/YHRPET
12. Dzh.M. Tran, S. Zommerfel′d, M. Payper, E.YU. Kenig Issledovaniye plastinchatykh kondensatorov dlya primeneniya v rektifikatsionnykh kolonnakh. Khimiya. Eng. Res. Des., 99 (2015), pp. 67-74,https://doi.org/10.1016/j.cherd.2015.03.031. [In Russian] EDN: https://elibrary.ru/UFBEJP
13. R. Gedeke, S. Sholl′ Modelirovaniye termosifonnogo reboylera s podushkoy i plastinchatym teploobmennikom, 55 (2019), pp. 95-104,https://doi.org/10.1007/s00231-018-02543-4 . [In Russian] EDN: https://elibrary.ru/TZYEBT
14. M. Payper, A. Zibart, E. D′yakov, R. Springer, V. Khomberg, E.YU. Kenig Povysheniye teploperedachi v plastinchato-plastinchatykh teploobmennikakh s vypuklymi poverkhnostyami: chislennoye issledovaniye. Term. Angliyskiy, 153 (2019), pp. 142-146,https://doi.org/10.1016/j.applthermaleng.2019.02.082 [In Russian] EDN: https://elibrary.ru/PMSBPP
15. YU.A. Al′-Turki, A. Yarmokhammadi, A.A. Alizade, D. Tograi, Chislennoye issledovaniye techeniya nanozhidkosti i teploperedachi v plastinchatom teploobmennike s ispol′zovaniyem dvukhfaznoy modeli: vliyaniye formy tochek svarki, ispol′zuyemykh v plastinchatom teploobmennike, ZAMM - Zhurnal prikladnoy matematiki. i mekhanika / Zhurnal dlya izucheniya matematiki i mekhaniki, n/a e202000300, DOI: https://doi.org/10.1002/zamm.202000300. [In Russian] EDN: https://elibrary.ru/VWVCIX
16. R. Gedeke, S. Sholl′ Modelirovaniye teplomassoperenosa v plastinchatom termosifonnom kipyatil′nike-reboylere na podushkakh., 55 (1) (2019), pp. 95-104. [In Russian] DOI: https://doi.org/10.1007/s00231-018-02543-4; EDN: https://elibrary.ru/TZYEBT
17. A. Zibart, E.YU. Kenig Chislennoye issledovaniye sopryazhennoy teploperedachi v podushechno-plastinchatom teploobmennike Int. J. Heatmass Transfer, 165 (2021), Stat′ya 120567,https://doi.org/10.1016/j.ijheatmasstransfer.2020.120567 EDN: https://elibrary.ru/FAVTMP






